日前,工業和信息化部、國家發展和改革委員會及國家能源局發布《關于開展淘汰落后和化解過剩產能工作督導檢查的通知》(工信部聯產業【2019】143號)。文件稱,為貫徹落實黨中央、國務院關于推進供給側結構性改革的決策部署,鞏固“三去一降一補”成果,現就開展淘汰落后和化解過剩產能工作督導檢查有關事項問題作出通知。
通知督導檢查重點包括2016年以來建設或確認的鋼鐵、煤炭、水泥、平板玻璃、電解鋁項目落實產能置換情況。重點是產能置換方案、項目備案文件、被置換的產能(設備)是否如期退出、相應建設項目進展情況。 2018年執行能耗、環保、質量、安全、技術等法規標準,依法依規淘汰落后產能情況;2019年淘汰落后產能工作方案制定情況。 2018年以來去產能、淘汰落后產能職工安置情況,以及差別化價格等相關政策落實情況。建立健全去產能、淘汰落后產能舉報響應機制情況,以及2018年以來舉報線索處置情況 。 督查檢查方式包括以查閱書面材料代替政府工作匯報會;根據檢查重點和問題線索,采取重點檢查、隨機抽查不打招呼檢查、暗訪等形式。對《國務院辦公室關于對2018年落實有關重大政策措施真抓實干成效明顯地方予以督查激勵的通報》中予以督查激勵的相關縣(市、區、旗),原則上實行“免檢查”。 督查檢查安排7月中旬至8月中旬各省級人民政府按照本通知相關要求開展自查。8月15日至9月15日,由工業和信息化部、發展改革委、能源局、生態環境部、應急管理部、市場監督總局、煤監局司局級負責同志帶隊,相關部門和行業協會人員參加,組成10個聯合督導檢查組,開展實地督查檢查。具體時間由各督導檢查組對接確定。
督查組安排如下:

通知督導檢查重點包括2016年以來建設或確認的鋼鐵、煤炭、水泥、平板玻璃、電解鋁項目落實產能置換情況。重點是產能置換方案、項目備案文件、被置換的產能(設備)是否如期退出、相應建設項目進展情況。 2018年執行能耗、環保、質量、安全、技術等法規標準,依法依規淘汰落后產能情況;2019年淘汰落后產能工作方案制定情況。 2018年以來去產能、淘汰落后產能職工安置情況,以及差別化價格等相關政策落實情況。建立健全去產能、淘汰落后產能舉報響應機制情況,以及2018年以來舉報線索處置情況 。 督查檢查方式包括以查閱書面材料代替政府工作匯報會;根據檢查重點和問題線索,采取重點檢查、隨機抽查不打招呼檢查、暗訪等形式。對《國務院辦公室關于對2018年落實有關重大政策措施真抓實干成效明顯地方予以督查激勵的通報》中予以督查激勵的相關縣(市、區、旗),原則上實行“免檢查”。 督查檢查安排7月中旬至8月中旬各省級人民政府按照本通知相關要求開展自查。8月15日至9月15日,由工業和信息化部、發展改革委、能源局、生態環境部、應急管理部、市場監督總局、煤監局司局級負責同志帶隊,相關部門和行業協會人員參加,組成10個聯合督導檢查組,開展實地督查檢查。具體時間由各督導檢查組對接確定。
督查組安排如下:


據水泥人網了解,水泥、平板玻璃產能置換專項檢查工作涉及的項目包括新建項目和退出產能情況以及企業自查情況反饋。新建項目,包括企業和項目名稱、是否產能置換、置換方案公告時間和地點。以及項目建設開工時間(計劃/實際)、投產時間(計劃/時間)、項目建設地點、主體設備型號、備案產能。退出產能情況包括企業名稱、主體設備型號、產能、關閉時間、拆除時間。 企業自查情況包括:是否跨省置換并召開聽證會、產能指標是否符合政策要求、產能指標是否在各地省級公告的生產線清單內、是否存在“批小建大”、用于置換的產能是否按照要求關停和拆除、是否存在其他違反政策法規等情形、產能置換實際執行情況是否與置換方案一致、整改措施及時間安排等。
通知全文如下





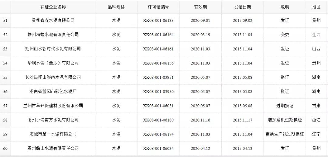
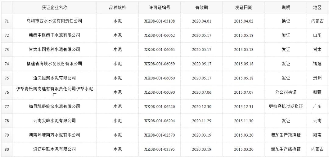
據市場監管總局工業生產許可證辦公室數據顯示,截止2019年8月2日共有3543條水泥生產許可證記錄,涉及三千多家水泥企業;據不完全統計,截止2018年底,全國新型干法水泥生產線累計1681條,設計熟料產能維持在18.2億噸,實際年熟料產能依舊超過20億噸。
生產許可證辦公室部分數據截圖如下:










數據來源:市場監管總局生產許可證辦公室,因篇幅有限僅列出部分熟料生產線名單。
附水泥協會水泥產能核實標準(T/CCAS007-2019) 部分截圖



附:工信部發布《水泥玻璃行業產能置換實施辦法》水泥熟料產能換算表

備注:1、對于變徑窯,按其最粗窯徑核定產能。2、窯徑在上表中兩檔之間的,按插值法推算其產能。


