近日因南方雨水天氣較多,水泥市場需求下滑,同時周邊地區水泥價格回落,湖南衡陽地區水泥價格大幅下跌30-50元/噸;福建部分主流品牌水泥市場報價下跌20-30元/噸;武漢地區水泥價格下跌15元/噸... ...連續數日,華東、西南、中南大半個中國水泥價格“塌方”,就連前幾日剛剛通知水泥價格上調50元/噸的河南區域也有企業通知回調水泥價格了。
品牌大戰開始,多品牌集體開火
各區域不同企業之間的價差是導致“價格戰”的導火索,前幾年各區域企業之間競合協同較好,市場價格相對較穩定,一、二線品牌分屬民建市場和重點項目,幾乎不存在“打架”的情況。原只是在市場淡季和產能集中度相對較低區域才會出現的“價格戰”,近期在各區域愈演愈烈。部分地區一線品牌也加入二線品牌行列與其爭奪民建市場份額。
據水泥人網了解,部分企業除自有品牌外還將旗下一個或多個收購、并購或是合資、控股企業的其他品牌一起加入“價格戰”,以不同的品牌不同的營銷策略,執行不同的價格。表面上看是自己跟自己打“價格戰”,其實是為了占領更多的領域,占據更大面積的市場份額。例如國內知名品牌企業海螺水泥、紅獅水泥、華新水泥、山水水泥等。
同一企業同一標號兩個品牌差價65元/噸
某建材經銷商表示,簽約了一家大品牌企業,企業要求他將旗下幾個品牌一起做推廣。同一標號之間價格相差30-50元/噸,企業表示這是不同檔次,不同質量標準的產品,滿足不同客戶需求,讓客戶“進了門”有多種選擇,不會再去其他家的營銷“妙招”。
另一經銷商則表示,原本經營有同區域幾家工廠的不同品牌水泥,價位都差不多,也算是“多種經營”,現在只經營一家企業的產品,同一標號存在很大的價差。看起來推廣容易,其實一個品牌好賣勢必影響另一個品牌的銷量,總歸是肉爛在鍋里,肥水不流外人田,“包子和饅頭”客戶需要哪個自己選。
據水泥人網了解,在黑龍江區域曾出現過亞泰集團哈爾濱水泥有限公司水泥價格表天鵝牌M32.5水泥與三嶺牌M32.5水泥報價相差65元/噸。

協同漲價期間,用附屬品牌來打“價格戰”
某水泥集團銷售經理對水泥人網表示,現在的水泥企業基本不會把水泥強度做低于國家標準的,通常是為了適應市場需求,生產兩個或多個品牌水泥,有一個或幾個附屬品牌,附屬品牌很少出42.5級以及上高標號產品的,基本都是32.5標號,其目的一是占領低端市場,二是增加代理商數目。但是,往往兩個或多個代理商會打架,所以生產附屬品牌的企業往往是分不同情況的。
可能是主品牌在當地有影響力,有品牌溢價的能力;也可能是附屬品牌只出包裝,不出散裝,或者專門是裝修水泥;
還有一種情況,企業采用附屬品牌應對水泥協同后的個別公司“不協同”,出爾反爾的現象,但是一般差價也不會很大。也有在當地企業集體協同漲價期間,附屬品牌為了抵抗漲價風險,不參予協同,不上調價格的,因此才會有較大的價差。
附屬品牌開路,主流品牌跟進,海螺、紅獅、華新集體“開戰”
據水泥人網了解,國內主導企業多數都有所謂的“附屬品牌”。多數附屬品牌,屬于低端品牌,專門拿來打擊邊緣市場用的。目前的現狀似乎有些戲劇化了,附屬品牌打前鋒,主品牌做中場、后衛。附屬品牌以低價搶灘登陸新市場,主品牌陸續進入,并穩固地位。
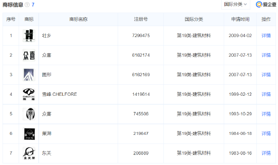
以國際單一品牌海螺水泥為例,據愛企查數據顯示,安徽海螺水泥股份有限公司旗下有壯鄉、眾喜、雪峰、巢湖、東關等7個建筑材料類注冊商標。另有鎮江北固海螺水泥限責任公司旗下“北固”牌,安徽海螺水泥股份有限公司寧國水泥廠旗下“勝利 VICTORY”牌。

海螺水泥上年剛剛巨資拍下的昌江水泥廠旗下的“椰樹”牌目前已劃歸海螺水泥旗下。而海螺水泥自有品牌“海螺”牌注冊商標隸屬于海螺集團公司。

據水泥人網了解,海螺水泥通常在收購、并購或控股部分企業后,會將原品牌沿用一段時間,再換成海螺品牌。如張家港海螺水泥有限公司“梁豐”牌,南京海螺水泥有限公司“靈谷”牌、江西廬山海螺水泥有限公司“廬山”牌、安徽樅陽海螺水泥股份有限公司“山牌”、分宜海螺水泥有限責任公司“鈴山”牌等目前都處于“無效”狀態。
低成本民企龍頭企業紅獅水泥與海螺水泥類似,也是在收購當地品牌運營一段時間后過渡到自有紅獅品牌,或多個品牌同時運營,分屬不同的市場區域。據查詢浙江紅獅水泥股份有限公司旗下擁有紅獅牌 HONG SHI、超豐、蘭豐、萬年橋、錢江、超峰、之江等多個注冊品牌。同時其控股企業旗下又擁有不同的品牌。如蘭州紅獅旗下除擁有自有“紅獅”品牌外,還擁有“黃河橋”品牌。
據水泥人網了解,蘭州紅獅以“黃河橋”品牌為附屬品牌。黃河橋牌32.5水泥,主攻邊緣市場和二線民建市場,相比紅獅品牌同等級水泥價格低15-20元/噸。“黃河橋”品牌在當地市場擁有較好的“民心”,因其價廉物美擁有一定的市場認可度。
國內第一家水泥廠,華新水泥旗下也有華新堡壘、華新師傅、紅河、老君山、石林、地維、騰輝等多個品牌水泥。
山東區域主要品牌企業山水水泥旗下主要品牌為“山水東岳”。在東北區域又擁有“山水工源”、“山水東鑫”等品牌,尤其“山水工源”牌,在當地市場擁有大的市場份額。
品牌還在,企業卻已“荒”
水泥市場每到淡季,各企業都將傳統的營銷思路疊加現代的營銷手段合并出拳。這真是“橫看成嶺側成峰,遠近高低各不同。不識廬山真面目,只緣身在此山中。”不論是自有品牌,還是收購、控股品牌,能夠維系百年的少之又少。
國內第一家洋灰廠的“馬牌”水泥目前隸屬于金馬啟新水泥旗下,企業為單體粉磨站企業擁有Φ4.2×13m水泥磨機1臺;曾有“亞洲一號”之稱的耀縣水泥廠旗下“秦嶺”品牌目前已分別許可授權7家粉磨站企業。
啟新洋灰廠現在已經是水泥工業博物館不再生產水泥,而耀縣水泥廠自從不再生產水泥以后,便退出水泥市場,上市企業也更名為中再資環轉為主營開發、回收、加工、銷售可利用資源等項目。
一位從事水泥行業的多年的老工程師表示,現在的企業多用收購來的品牌打“價格戰”,質量是按照標準最低要求做的。待占據了一定的市場份額,就將已經做“爛”的品牌廢掉、賣掉。然后,再用自己的主導品牌賣“高價”提升盈利。許多老品牌就這樣被“毀”了... ...


